歡迎光臨 【 無錫市英福特熱能裝備有限公司 】 官方網站!
谘詢熱線:13706185529


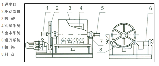
| ※ 性能水平高 | ※ 無級變速,轉鼓轉速可調 |
| ※ 設有側刮刀,避免轉鼓側端積料 | ※ 轉鼓精度高 |
| ※ 設備結構緊湊,占地麵積小 | ※ 適應範圍廣,操作簡便、靈活 |
| ※ 半管夾套式料盤,安全可靠 | ※ 采用多組刮刀,調節靈活 |
| ※ 噴淋水冷卻,冷卻效果好 | ※ 多功能,既可結片又可幹燥 |
|
轉鼓規格 mm |
電機功率 KW |
切片轉速 r/min 變頻控製 |
參考外形尺寸mm | ||
| L | W | H | |||
| 500×500 | 2.2 | 2-12 | 1500 | 600 | 1000 |
| 600×600 | 2.2 | 2-12 | 1600 | 700 | 1200 |
| 700×700 | 2.2-3 | 2-12 | 1700 | 800 | 1400 |
| 800×800 | 3-4 | 2-12 | 1800 | 900 | 1450 |
| 900×900 | 3-4 | 2-12 | 2000 | 1000 | 1550 |
| 1000×1000 | 4-5.5 | 2-12 | 2200 | 1100 | 1700 |
| 1200×1200 | 4-5.5 | 2-12 | 2400 | 1300 | 1900 |
| 1200×1500 | 5.5-7.5 | 2-12 | 2800 | 1300 | 1900 |
| 1500×1500 | 5.5-7.5 | 2-12 | 2800 | 1600 | 2100 |
| 1500×1800 | 7.5-11 | 2-12 | 3100 | 1600 | 2100 |
| 1500×2000 | 7.5-11 | 2-12 | 3300 | 1600 | 2100 |
| 2000×2000 | 11-15KW | 2-12 | 3300 | 2100 | 2500 |
| 1500×3000 | 11-15KW | 2-12 | 4800 | 1600 | 2200 |
| 2000×3000 | 15-21KW | 2-12 | 4800 | 2100 | 2500 |